Arrivés en 2001 sous l’impulsion de Ducati, les Downwash Ducts sont maintenant adoptés par tous les constructeurs en MotoGP, mais c’est un brevet déposé par Yamaha pour les motos de série qui nous en explique l’intérêt.
On les a vus apparaitre pour la première fois lors des essais de
pré-saison au Qatar (Doha) en mars 2021, testés initialement par le
pilote essayeur Michele Pirro,
puis adoptés par les pilotes officiels Jack Miller
et Francesco Bagnaia.
Éléments insolites au début, ils ornent aujourd’hui l’avant de tous
les bas de carénage, à l’exception des KTM où ils sont internes à
celui-ci.
Mais aussi communs soient-ils devenus, personne, dans le paddock, n’a pu (ou voulu), nous en expliquer le fonctionnement, chacun exposant sa propre théorie allant du « nettoyage de l’air sale » au « principe des bâtons de ski »…
Nous nous étions donc résignés à ne pas comprendre pourquoi de l’air pris horizontalement et rejeté vers le bas, réduisant à priori drastiquement la finesse aérodynamique, apportait un avantage… jusquà ce que nous trouvions, après de longues recherches, le brevet que Yamaha a déposé pour potntiellement exploiter ce principe sur les motos de série. Pour rappel, un tel brevet ne couvre pas la compétition, mais il est quand même étonnant que ce ne soit pas Ducati qui ait déposé un tel brevet…
Quoi qu’il en soit, voici l’explication fournie par Yamaha dans
son brevet de 20 pages.
Nous mettons en gras les passages importants de ces extraits.
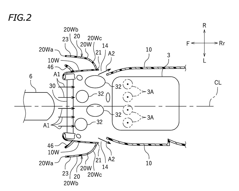
[0006] La présente invention a été conçue à la lumière de ces éléments, et a pour objectif de proposer une moto permettant à la fois d’augmenter le volume de l’échangeur thermique disposé à l’intérieur du carénage latéral et d’améliorer l’efficacité de refroidissement.
[0008] La moto décrite ici comprend :
-
un échangeur thermique (radiateur),
-
un carénage latéral disposé vers l’extérieur dans la direction de la largeur du véhicule par rapport à l’échangeur thermique, le carénage latéral comportant un orifice de décharge d’air formé vers l’arrière par rapport à l’échangeur thermique,
-
et un élément de guidage (downwash duct) disposé à l’extérieur du carénage latéral dans la direction de la largeur du véhicule et en avant de l’orifice de décharge d’air.

L’élément de guidage comprend :
-
une première portion de raccordement, située en avant de l’orifice de décharge d’air et reliée au carénage latéral ;
-
et une surface latérale externe qui s’étend vers l’avant et vers l’extérieur dans la direction de la largeur du véhicule à partir de cette première portion de raccordement.

[0009] Avec la moto décrite ci-dessus, l’élément de guidage s’étend non seulement vers l’avant à partir du carénage latéral, mais également vers l’extérieur dans la direction de la largeur du véhicule. Ainsi, sur une section horizontale, la longueur de la surface latérale externe de l’élément de guidage est supérieure à celle du carénage latéral.

La vitesse de l’air
s’écoulant le long de cette surface latérale externe est
relativement élevée, ce qui permet de réduire la pression au niveau
de l’orifice de décharge d’air. Cela facilite
l’évacuation de l’air par l’orifice de décharge, augmentant ainsi
le débit d’air traversant l’échangeur
thermique.
Il est donc possible d’améliorer l’efficacité de
refroidissement de l’échangeur thermique.

En outre, puisque l’élément de
guidage est disposé à l’extérieur du carénage latéral, le
volume de l’échangeur thermique n’est pas limité par l’installation
de cet élément. Il devient donc possible d’augmenter le volume de
l’échangeur thermique.
Ainsi, la moto décrite permet à la fois d’augmenter le volume de l’échangeur thermique et
d’améliorer son efficacité de refroidissement.
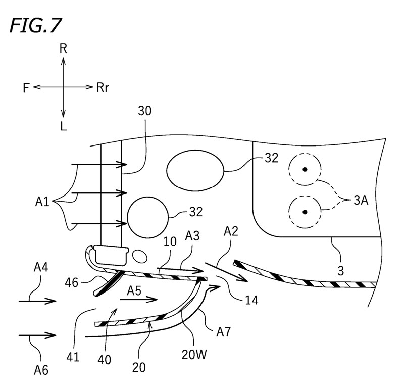
[0067] Une plaque de guidage d’air 46 est disposée à l’intérieur du conduit 40. Il est ainsi possible de rectifier l’écoulement dans le conduit 40, et donc de réduire la résistance aérodynamique de l’élément de guidage 20.
Aïe ! Yamaha nous explique que
le système sert seulement à améliorer le refroidissement,
principalement du radiateur d’huile !
Mais quid de l’air sale, quid de l’effet de sol, qui de l’appui
?
On a un peu l’impression d’entendre Luigi
Dall’Igna défendre le spoiler de bras oscillant en tant
que refroidisseur du pneu arrière…
D’ailleurs, la M1 n’a plus de sorties d’air chaud en bas du
carénage depuis 2024, année de l’apparition des Downwash Ducts sur
ses flancs. Et sa dernière version ne fait pas exception.
« Houston, on a un problème ! »

Nous avons donc poussé la recherche un peu plus loin.
A suivre…
MotoGP Yamaha Downwash Ducts
























