C’est un tournant majeur — et probablement l’annonce la plus excitante du moment dans l’industrie moto. Kawasaki vient de confirmer que le retour du moteur deux-temps n’était ni un canular marketing, ni un simple clin d’œil nostalgique. Le constructeur d’Akashi travaille bel et bien sur un nouveau moteur deux-temps du futur, et tout indique que le projet avance dans le plus grand secret au Japon.
Un an après la vidéo virale “On vous entend !” (#2Stroke #GoodTimes #Kawasaki) diffusée en 2024, beaucoup pensaient que la marque avait joué avec la nostalgie des fans. Mais à l’EICMA 2025, Kawasaki a confirmé que le développement du moteur deux-temps est toujours d’actualité, simplement retardé mais non stoppé.
Une délégation japonaise était d’ailleurs présente à Milan pour discuter en interne de “questions stratégiques”, notamment du retour du deux-temps.
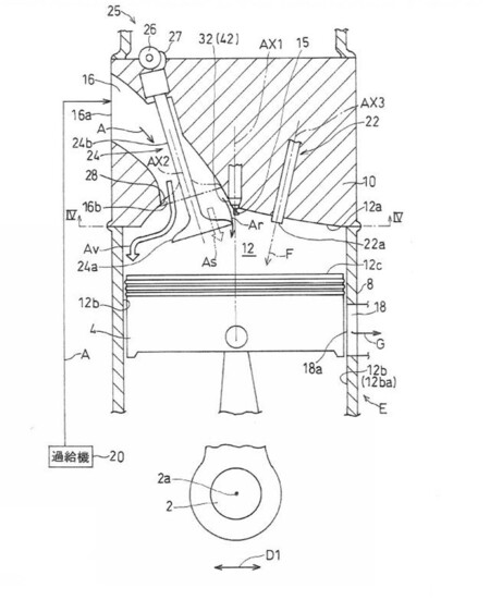
Ce n’est pas un retour “à l’ancienne”. Le futur moteur Kawasaki serait un 2-temps à injection directe, doté de soupapes commandées par arbre à cames et d’un turbocompresseur.
Objectif : éliminer la fumée, la pollution et les pertes de carburant tout en gardant la brutalité et le couple légendaire du deux-temps.
Le fonctionnement : admission d’air pur par soupapes (pas de mélange air/huile). Compression classique, injection directe du carburant juste avant l’allumage. Lubrification indépendante. Cycle moteur toujours en un tour de vilebrequin — donc bien un vrai deux-temps.

Les rumeurs évoquent une Kawasaki Mach moderne “naked”, alliant design rétro et technologies de pointe, prévue pour 2026
Le brevet déposé en 2023 décrit un système ultra-propre, capable de satisfaire aux normes modernes sans sacrifier les sensations mécaniques.
Tout converge vers un modèle précis : la renaissance de la Kawasaki Mach, hommage à la mythique H1 Mach III des années 1960.
L’affiche du Japan Mobility Show 2025 montre la silhouette d’un roadster bicolore blanc et rouge sous le slogan “Tradition et Innovation” — un clin d’œil trop évident pour être anodin.
La logique est claire : nom légendaire + moteur iconique + technologie futuriste = le retour d’une moto culte, réinventée pour le XXIe siècle.
Les rumeurs évoquent une Mach moderne “naked”, alliant design rétro et technologies de pointe, prévue pour 2026.
Si Kawasaki parvient à concrétiser ce projet, ce serait un événement historique. Le constructeur japonais oserait faire revivre un type de moteur considéré comme mort depuis des décennies en Europe, en le rendant propre, performant et émotionnellement irrésistible.
We Heard You. #2Stroke #GoodTimes #Kawasaki pic.twitter.com/NuZt4GiLq7
— Kawasaki USA (@KawasakiUSA) January 25, 2025








